自作付属装置(その2)

14MHz トランスバータ

50MHzを親機とした14MHzのトランスバータです。
出力100W。



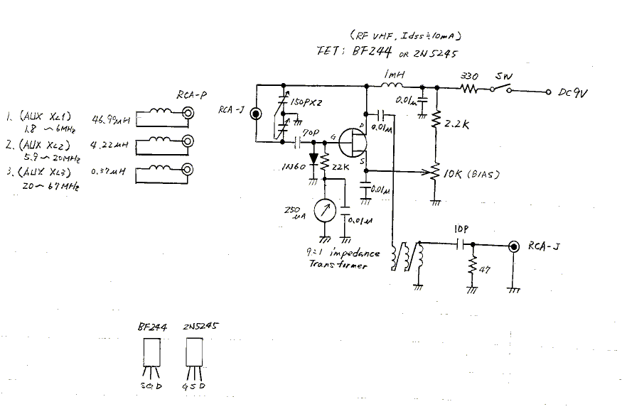
ディップメータ

ピンジャックをコイルに用いました。FET式。ダイアルはバーニアですが裏に校正表を張り付けて、結構正確に周波数が読めます。






目次に戻る
アンテナチューナ

HFのワイヤアンテナに使用するアンテナチューナ。同軸ケーブルにプラスとマイナスのDC電圧をかけて2個のバリコンをそれぞれ制御しています。